PCLC-2
PCLC-

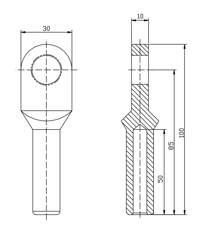
Medium voltage, compression copper Lug for separable connector

Model No.:

PCLC is for Tee type separable connector, connection of copper cable with copper end of electrical equipment in medium voltage syetem upto 42kV.

Benefits

Specification

Features

  • Material: Cu≥ 99.9%
  • Surface: Tin plated
  • Centre palm

This is the heading

Related
Products

Related Products

欢迎联系咨询